STAFFA DI SOSPENSIONE

Sistemi modulari di distribuzione aria compressa e fluidi in alluminio

Seleziona le categorie

STAFFA DI SOSPENSIONE

HBS

Modello 3D
Dati tecnici
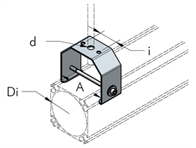
Codice Di
mm
Di
mm
d
mm
i
mm
A
mm
P
g
Pz
003 003 073 63 50/63 11 36 68 395 10
003 004 073 80 11 36 85 391 10
003 005 073 110 11 36 115 481 10
Richiedi maggiori informazioni
Scopri tutti i prodotti HBS
Filtra per:
Cerca per Codice: